AK8856VN-L
AKM
14+
QFN48
5000多家會員為您找貨報價,SO EASY!
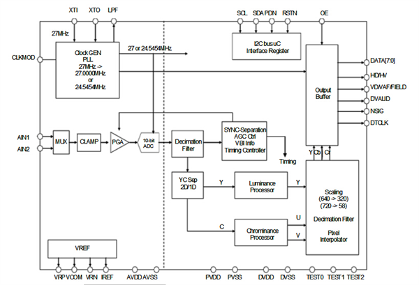
NTSC-M、ntsc - 4.43 / PAL - B、D、G H,我,N,數控,M,60復合信號解碼過程.10位ADC(抽樣在24.5454 mhz或27 mhz)?集成PGA(0分貝~ 12 db).顏色自動控制(ACC)函數自適應自動增益控制(AGC)函數.1 D和2 D YC分離為朋友.相位補償輸出接口——ITU-R BT.656輸出格式(4:2:2 8位并行輸出由/干臘腸)-相機界面接口和HD / VD /.閉合字幕DVALID信號解碼函數(讀取寄存器設置).VBID(CGMS-A)解碼函數(中國鐵建解碼)(讀取寄存器設置)?WSS解碼函數(讀取寄存器設置)..Macrovision信號檢測功能
省電功能.2聲道模擬輸入選擇器.I2C控制兼容?核心電壓
AK8856VN-L原理圖:
AK8856VN-L3.jpg)
電話:13312981389
聯系人:林先生 (先生)
QQ:
郵箱:852844536@qq.com
地址:深圳市福田區景田路81號碧景園D座302
100%產品查看率
會員等級
會員年限