AT7219/7221
AT
最新
DIP24
5000多家會員為您找貨報價,SO EASY!
簡介:
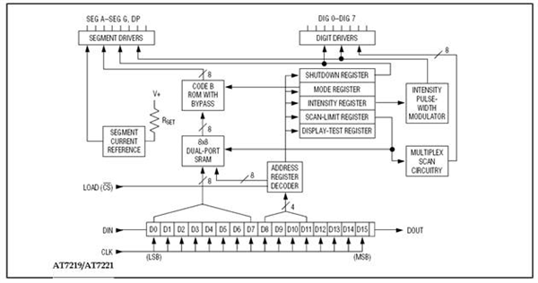
AT7219 / AT7221 是一種集成化的串行輸入/輸出共陰極顯示驅動器,它連接微處理器與8位數字的7段數字LED顯示,也可以連接條線圖顯示器或64個獨立的LED。芯片包括片上BCD譯碼器,多路掃描回路,段,字驅動器,8 * 8的靜態RAM用來存儲每一個數據。通過外部電阻設置LED的段電流.AT7221與SPI? ,QSPI? 以及MICROWIRE? 相兼容,并且通過限制驅動電流變化斜率來減小電磁干擾。
芯片包含150uA 的低功耗模式,模擬和數字亮度調節控制,掃描限制寄存器容許用戶顯示1-8 位數據,測試模式可以讓所有的LED 發光。
器件特性
10MH Z連續串行接口
獨立LED 的段控制
可選BCD 譯碼器
150uA 低功耗關斷模式
數字與模擬亮度調節控制
上電保護模式
共陰LED 驅動器
限制驅動電流變化斜率減小EMI(AT7221)
兼容SPI? ,QSPI? 以及MICROWIRE? 接口(AT7221 )
24 腳的DIP 和SO 封裝
應用領域
條線圖顯示
儀表面版
工業控制
LED 矩陣顯示
結構框圖:
AT7219 7221典型.jpg)
AT7219 7221 結構體.png)
可以免費提供樣品,需要更多的資料可以聯系我
名片.png)
電話:0755-21036369
聯系人:鄭萍 (女士)
QQ:
郵箱:yemamqinjin.com@qq.com
地址:廣東深圳深圳市龍華新區民治街道商會大廈B區3A75
100%產品查看率
會員等級
會員年限